多家二手車平臺交易調表車 100元就能改

檢測完車輛外觀,二手車平臺檢測人員準備為車輛拍照申請“上線”。

二手車平臺檢測人員掀開引擎蓋觀察車輛內部情況。

3月14日,二手車平臺檢測人員正在檢測一輛“調表車”。

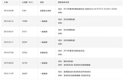
維修記錄顯示,被檢測車輛里程數已達56365公里。

維修記錄顯示,被檢測車輛里程數已達56365公里,而車速拍平臺上顯示的里程數為調后的17000公里(圖)。
孫田(化名)沒想到,通過瓜子二手車平臺購買的“準新車”,差點發生事故。
去年6月,他駕車在廣州南沙港快速路上行駛時,車子的時速由110公里瞬間降至60公里,油門完全失去反應。幸好,后方車輛急速剎車,才避免追尾事故。
回憶此事,孫田仍心有余悸。這輛花6.6萬元購買的北汽紳寶汽車,平臺標注顯示,上牌8個月,里程數為9166公里。
剛買了半個月的車,就發生故障。孫田將車送到4s店檢修,維修保養記錄顯示,該車實際行駛里程已超過5萬公里。
“平臺宣稱經過259項全車檢測,竟然連 調表車 也測不出?”孫田將二手車平臺和原車主告上法庭。
事實上,“調表車”通過檢測,上線二手車平臺,并非難事。
新京報記者近日調查發現,一些二手車平臺宣稱,對車輛進行超百項專業檢測,但消費者在平臺上,無法直接看到所有車況信息,一些平臺甚至隱瞞車輛真實里程數。
15分鐘完成上百項檢測
5萬公里改成9千公里,仍能通過上百項檢測。二手車交易平臺真的連“調表車”都發現不了嗎?
在瓜子二手車官網首頁上,“259項檢測”的廣告語格外引人注目。網站介紹,檢測項目為原奧迪中國二手車業務總監領銜制定,評估師團隊“考核上崗,經驗豐富”。
人人車二手車平臺也宣稱“通過249項專業檢測”,并明確標注“100%個人車源”、“雙重檢測無重大事故”、“一年兩萬公里質保”、“14天內可退車”。
近日,新京報記者以賣家身份,多次體驗二手車平臺的驗車情況。
3月11日,順義俸伯地鐵站附近,人人車和瓜子二手車的檢測人員分別對一輛大眾途觀車進行檢測。
下午3時許,人人車的檢測人員到達約定地點。了解完車輛基本信息后,對方從雙肩背包中掏出手電筒,先后觀察了車輛發動機艙、底盤、車身等設備情況。之后,檢測人員掏出一臺普通手機大小的膜厚測試儀,測試車身各個位置噴漆的厚度。
“是實表嗎?”檢測到里程表時,上述工作人員問道。得到肯定答復后,他記錄下汽車里程表上顯示的公里數。
約15分鐘后,車況檢測完畢。檢測人員對車輛的各個角度拍照,并申請上線。
次日,車輛成功上線,平臺對于車況檢測的描述為:資深行業權威專家對此車前后兩次專業檢測,檢測項目為249項。
11日下午4時許,瓜子二手車兩位工作人員也對這輛途觀車進行檢測,所帶的檢測設備也為手電筒和膜厚測試儀。
此前,其中一位檢測人員表示,車輛檢測包括里程表核實,“我們會查詢車輛維修保養記錄,來核實里程數。”但實地檢測時,兩人并未核驗。
對于“調表車”情況,3月12日,承諾“158項檢測”的優信二手車平臺一名客服人員介紹,由于車輛是特殊商品,無法精準了解里程數。“根據平臺服務規定,里程數不在我們的保障范圍內,(里程)表上顯示多少就是多少。”
一位在4S店專門從事汽車售后服務的資深人士介紹,大部分二手車平臺檢測水平還停留在比較粗放的狀態,如憑經驗判斷外觀、口頭詢問等手段。而多數車輛的里程數,僅需通過查詢車架號或者調取4S店保養記錄即可核實。
